Carrello
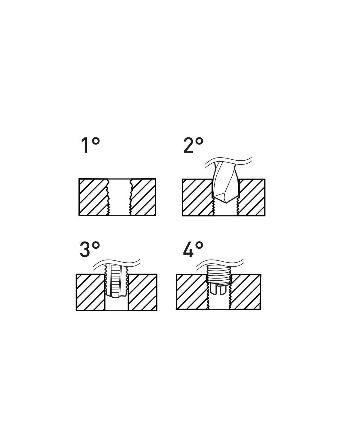
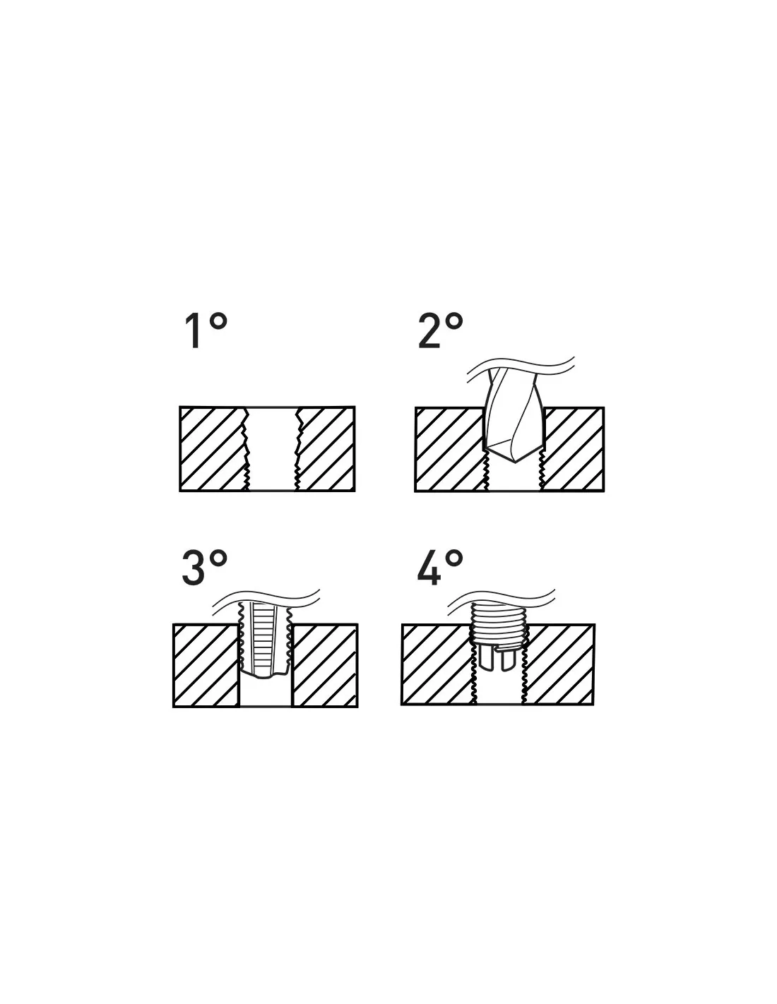
Adatti per la rigenerazione delle filettature o per ottenere delle maschiature molto resistenti in materiali teneri.
Dati tecnici
Dimensioni: M 14 x 1.0
Punta:
Maschi STI: E011/M140X100M
Utensile montaggio: E011/U16
Attrezzo rottura:
Quantità inserti: 10
- Marca
- FERVI
- MPN
- E011/M140X100
23 Articoli
Sii il primo a recensire questo prodotto. Accedi o registrati per lasciare la tua recensione.




