Carrello
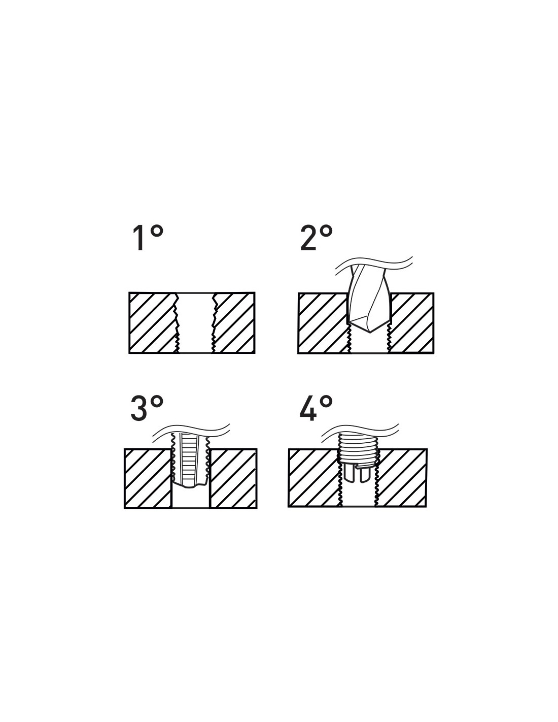
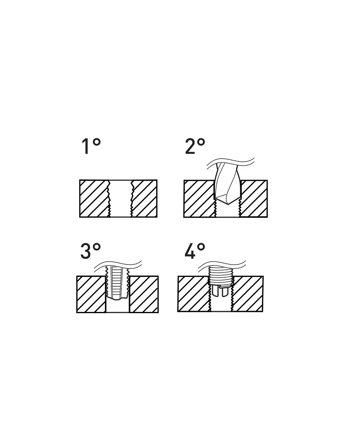
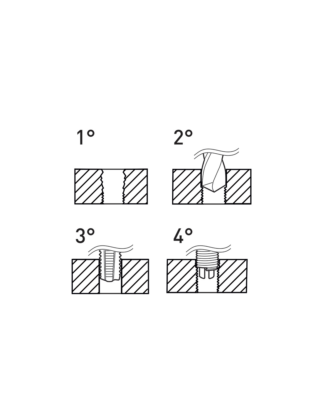
Adatti per la rigenerazione delle filettature o per ottenere delle maschiature molto resistenti in materiali teneri.
Dati tecnici
Dimensioni: M 3.5 x 0.6
Punta: diametro 3.7 mm
Maschi STI: E011/M035X060M
Utensile montaggio: E011/U05
Attrezzo rottura: E011/A05
Quantità inserti: 20
- Marca
- FERVI
- MPN
- E011/M035X060
24 Articoli
Sii il primo a recensire questo prodotto. Accedi o registrati per lasciare la tua recensione.




