Carrello
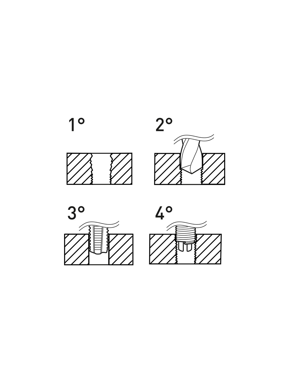
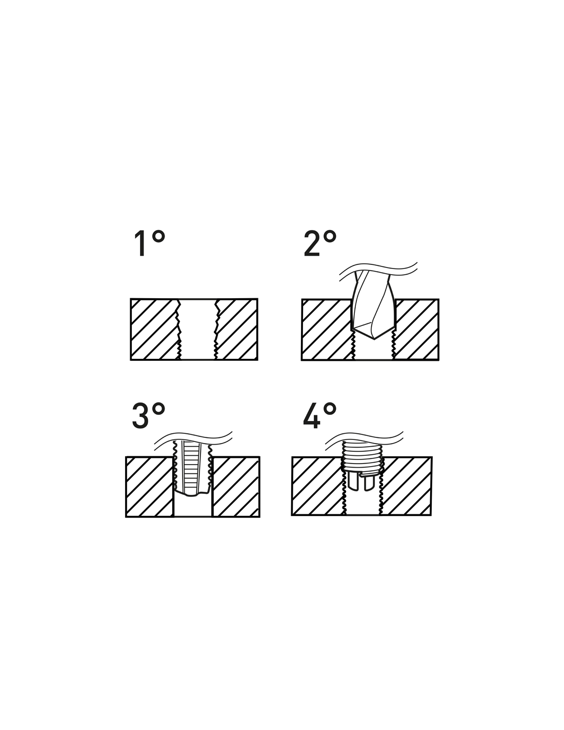
Adatti per la rigenerazione delle filettature o per ottenere delle maschiature molto resistenti in materiali teneri.
Dati tecnici
Filetto: 7/16" x 14
Punte: diametro 11.6 mm
Maschi STI: E011/UNC7/16M
Utensile montaggio: E011/U14
Attrezzo rottura: E011/A14
Inserti filettati: E010/UNC7/16E15
Quantità inserti: 10
- Marca
- FERVI
- MPN
- E011/UNC7/16
4 Articoli
Sii il primo a recensire questo prodotto. Accedi o registrati per lasciare la tua recensione.
