Carrello
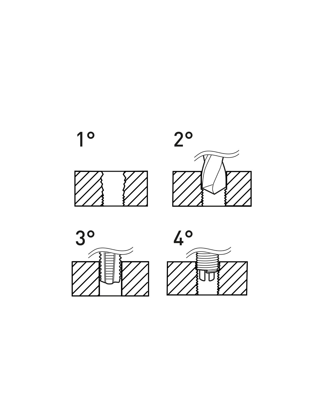
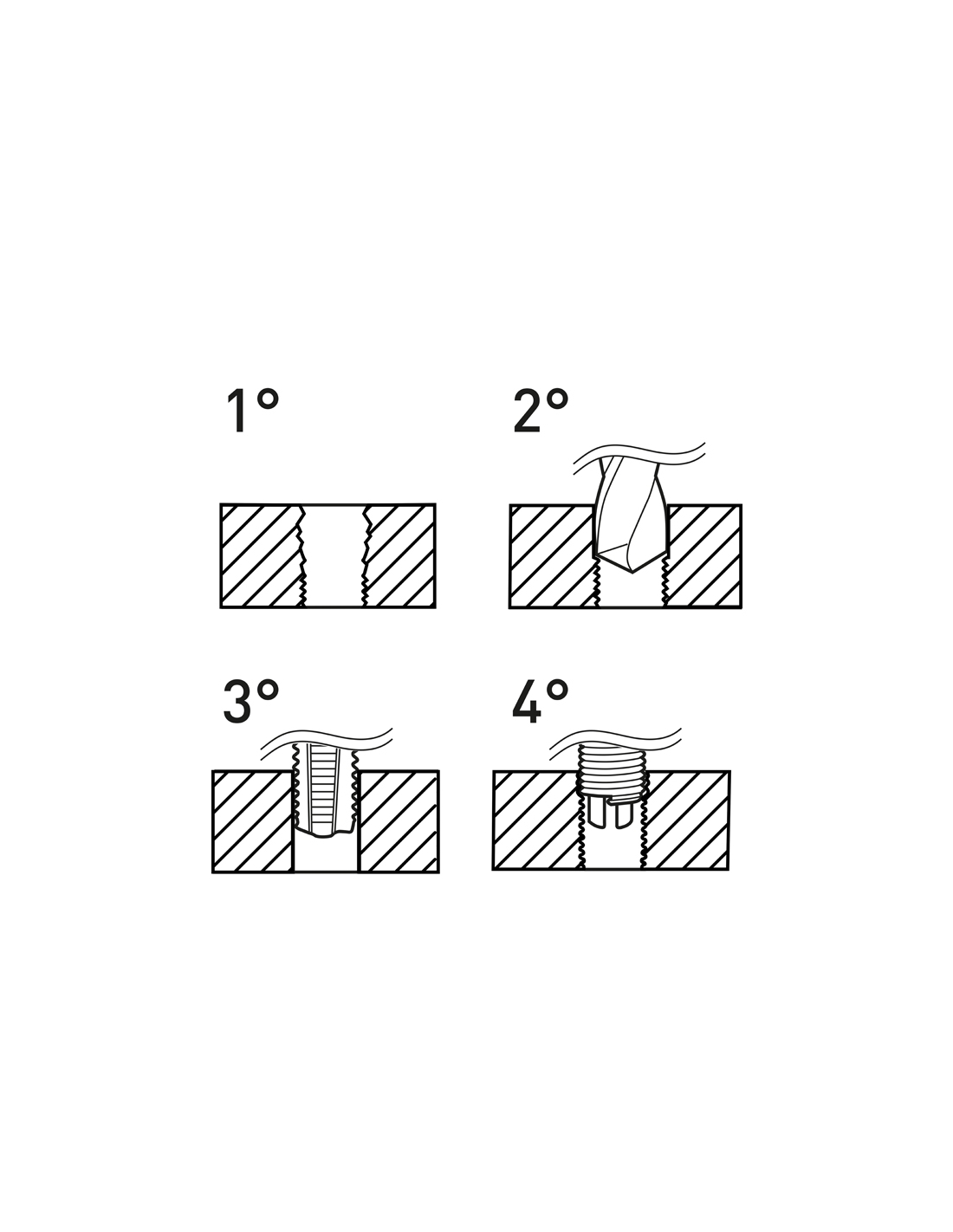
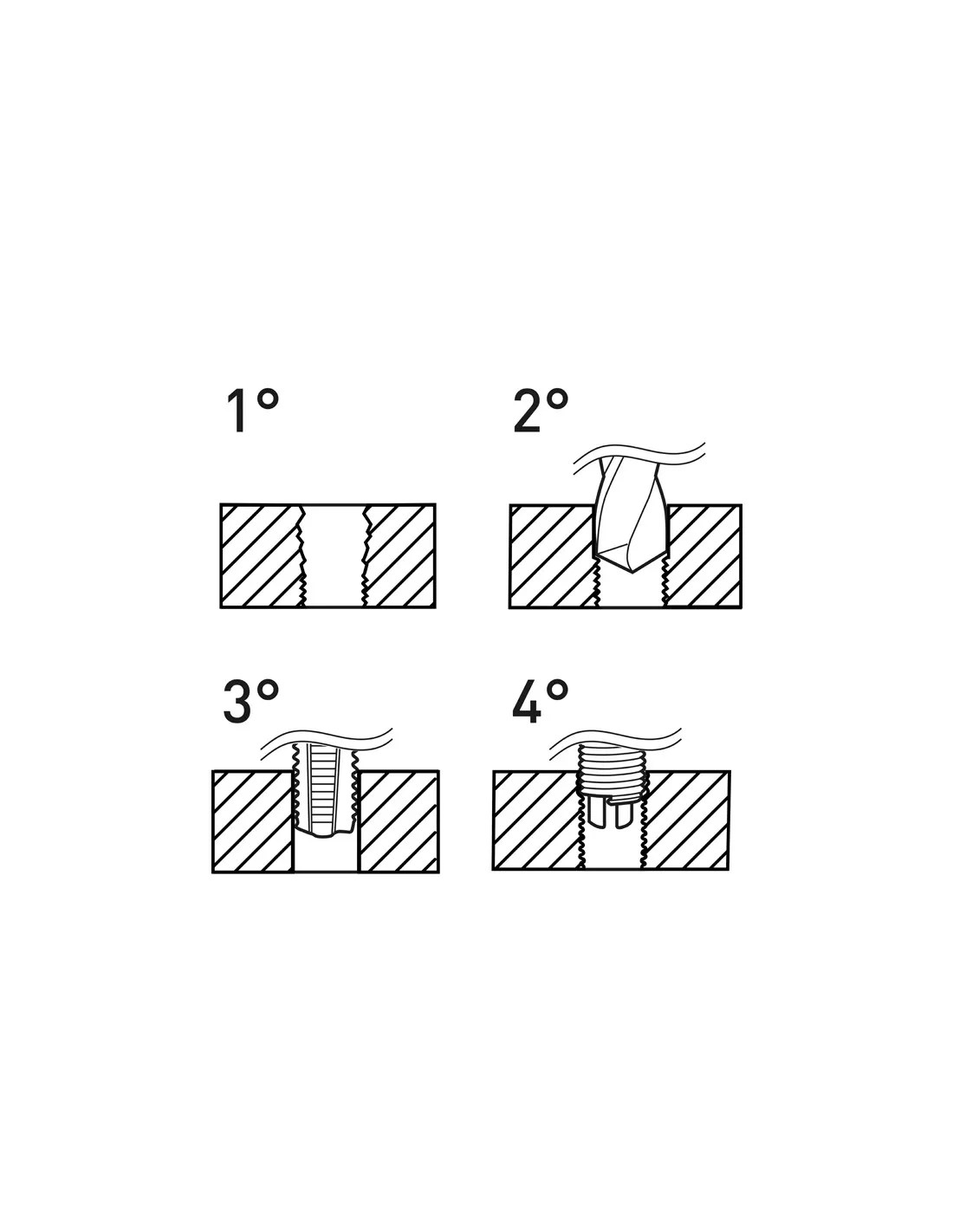
Adatti per la rigenerazione delle filettature o per ottenere delle maschiature molto resistenti in materiali teneri.
Dati tecnici
Filetto: 5/16" x 18
Punte: diametro 8.3 mm
Maschi STI: E011/UNC5/16M
Utensile montaggio: E011/U10
Attrezzo rottura: E011/A11
Inserti filettati: E010/UNC5/16E15
Quantità inserti: 20
- Marca
- FERVI
- MPN
- E011/UNC5/16
2 Articoli
Sii il primo a recensire questo prodotto. Accedi o registrati per lasciare la tua recensione.




