Il tuo carrello
Non ci sono articoli nel carrello

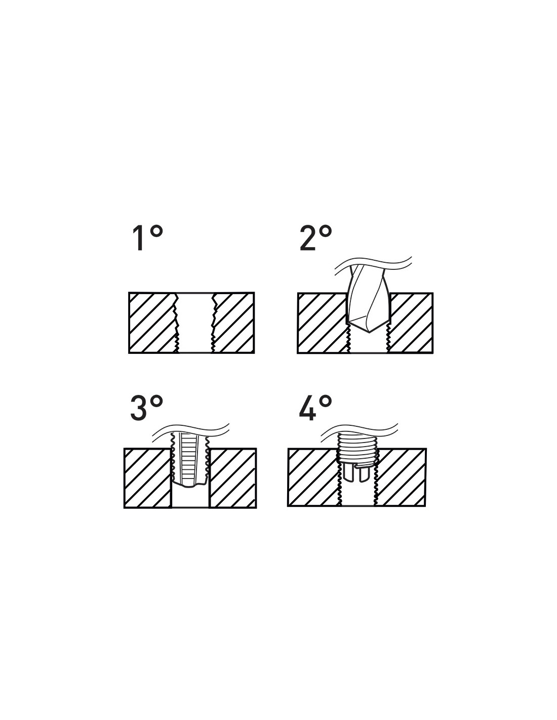
Adatti per la rigenerazione delle filettature o per ottenere delle maschiature molto resistenti in materiali teneri.
Dati tecnici
Filetto: 5/8" x 14
Punta:
Maschi STI: E011/BSF5/8M
Utensile montaggio: E011/U18
Attrezzo rottura:
Inserti filettati: E010/BSF5/8E15
Quantità inserti: 10
- Marca
- FERVI
- MPN
- E011/BSF5/8
3 Articoli
Sii il primo a recensire questo prodotto. Accedi o registrati per lasciare la tua recensione.